1月22日消息,坐车晕车是不少人的痛,主要体现在后排时,那么是否可以通过什么方法解决这个世纪难题?
近日,宝马提交了一项新的专利,旨在防止汽车乘客尤其是后座乘客出现晕车现象,它描述了车顶显示器(例如最新款7系的Theater Screen)如何帮助乘客在行驶过程中避免晕车的原理。

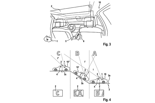
防止乘客晕车,很有效的一种方法就是使用全景天幕,如此结合车窗就能向晕车乘客的大脑传达运动效果。
不过宝马在一些车上布置有吸顶电视,这样透明天幕的作用就会被减弱,而宝马的应对方案非常简单,就是想方设法让车顶看起来透明,而由于显示器的存在,实现类似的方案并不困难。
最简单的就是可以通过现有屏幕上显示的图像来实现,或者可以将图像投影到车顶天花板上。


但也有一定的限制性,以上两种方法需要眼球追踪技术来确保图像匹配,因此一块显示器可以照顾到一名乘客,如果后排有多位晕车乘客,那就要寻找AR技术了。
宝马称,吸顶显示器需要补偿汽车相对于天空的倾斜度、相对于固定天体(如太阳、月亮和星星)的速度和方向。
摄像头可以捕捉汽车外部的图像并将其投射到这个车顶安装的屏幕上,宝马还可以使用 GPS、天气细节和天文数据来投射一个完全准确的图像,这样后排乘客就能有更多的驾驶参与感,如此可以缓解晕车带来的不适感。
听描述挺复杂,实际上原理很简单,就是让晕车的乘客感觉自己是在开车,在自动驾驶普及后,或许会有更多的实际意义。
