近日,据企查查资料显示,华为一项名称为晶圆处理装置和晶圆处理方法的新专利被曝光。
该专利申请日期为2022年6月2日,申请公布的时间为2023年12月12日,申请公开号为CN117219552A。
根据专利摘要显示,本公开的实施例涉及晶圆处理装置和晶圆处理方法,主要是用于提高晶圆对准效率和对准精度。

(图片来源:企查查)
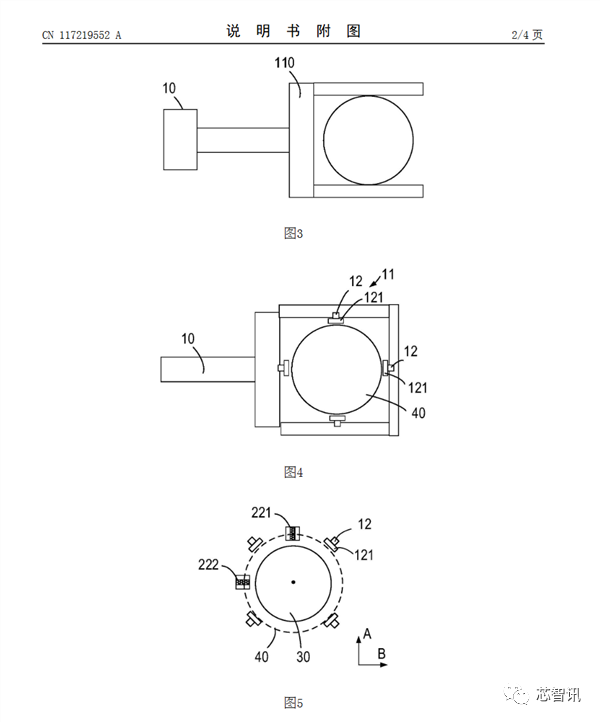
据介绍,晶圆处理装置包括:晶圆载台,晶圆载台可沿旋转轴线旋转;机械臂,包括机械手,用于搬运晶圆并将晶圆放置在晶圆载台上;控制器;以及校准组件(包括:光栅板,相对于晶圆载台固定;光源,相对于光栅板固定;以及成像元件,固定设置在机械臂上,并且适于接收从光源发出的、透过光栅板的光)。
其中,控制器被配置成基于成像元件对接收到的光的检测,控制机械臂或机械臂上的调整装置来调整晶圆的位置;其中,在晶圆载台承载晶圆的情况下,光栅板和成像元件分别位于晶圆载台的上表面所在平面相对两侧,上表面用于承载晶圆。
专利摘要指出,本公开的实施例提供的装置和方法,能够提高晶圆对准效率和对准精度。




(专利原理示意图)
需要指出的是,自华为被美国持续打压以来,特别是美国限制了海外晶圆代工厂利用美国技术为华为代工芯片之后,华为便开始了持续加大对于芯片制造领域的相关技术的研究,为国内的芯片制造产业的突破提供助力。

