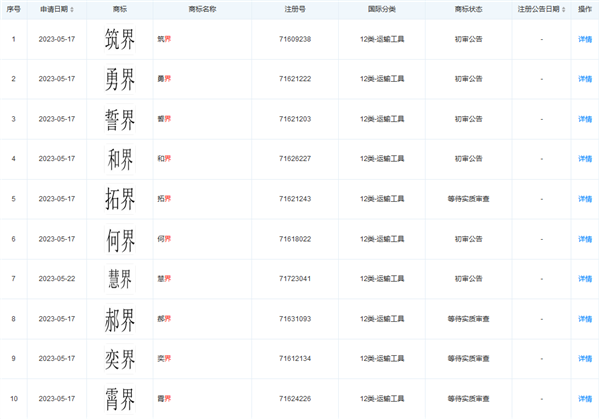
11月20日消息,在问界和智界两个品牌发布后,我们从天眼查APP获悉,华为还申请了包括慧界、享界、揽界、郝界、和界、轩界、腾界、向界等界字辈的商标。

据悉,在华为申请的众多界字商标当中,不仅涵盖了运输工具,还包含了教育娱乐、颜料油漆、建筑修理、地毯席垫、皮革皮具等众多领域。
其中,共有24个界字商标为运输工具类。
部分商标已经处于初审公告,还有一部分商标正在申请与等待实质审查当中。

此前,华为余承东在接受采访时表示:继问界和智界之后,鸿蒙智行还将迎来另外两个界,分别来自北汽和江淮。
由此可见,和江淮和北汽合作的品牌应该就会从中取名。
