10月22日消息,华为全新品牌非凡大师(ULTIMATE DESIGN)新Logo于近日曝光。
从曝光的图片来看,该Logo采用ULTIMATE DESIGN的首字母U和D组成的轴对称图案,中间为H造型,高级感拉满,有点奢侈品那味了。


9月25日举办的秋季全场景新品发布会上,华为正式发布全新超高端品牌ULTIMATE DESIGN非凡大师。
刘德华作为华为Mate 60 RS非凡大师品牌大使,出席发布会。
华为表示,历经多年沉淀,推出极致美学、极致工艺、极致创新的集大成者,从保时捷设计PORSCHE DESIGN到非凡达ULTIMATE DESIGN,品牌实现全面升级。


前不久,华为技术有限公司申请注册ULTIMATE DESIGN商标,国际分类涉及运输工具,当前商标状态均为等待实质审查,一同曝光的还有新的Logo。
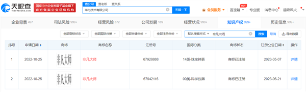
值得一提的是,华为此前已成功注册两枚非凡大师商标,国际分类涉及珠宝钟表、科学仪器。
外界猜测,华为申请运输工具类非凡大师商标,有望在新车型上应用,为非凡大师车型铺路。

