10月10日消息,如今的手机厂商在硬件上疯狂堆料的同时,也持续投入重金来提升系统的体验。
早在2014年就有传闻称小米要做自己的系统,如今可能真的要来了。

日前,数码博主数码闲聊站爆料称,MIUI 14会是MIUI最后一个正式的大版本,同时他还对小米系统新作提出期待:希望新作能将动效这个短板彻底消灭掉。

有网友在评论区询问称小米14系列是不是搭载MIOS了?但该博主没有明确回应,只留下三个字懂自懂,应该八九不离十了。

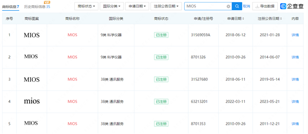
值得一提的是,从企查查网站查询发现,小米科技有限责任公司从2010年就已开始陆续申请注册多个MIOS商标,国际分类包括科学仪器、通讯服务、网站服务,目前商标状态多为已注册。
换句话说,小米自研操作系统很早就有计划了,经过多年打磨,应该很快就会与大家见面。
据悉,MIOS除了能在手机上运行,小米汽车车机、物联网设备也能用,基本将全平台覆盖。
据爆料,小米14系列目前基本确定会在双11前发布,现在留下两大悬念,第一,小米MIOS系统的命名,第二,小米14系列会不会首发全新的自研系统,值得期待。
