9月28日消息,近日有海外媒体报道,保时捷最新获得了六冲程发动机专利,这种发动机减少排放的同时,通过增加额外的压缩和动力冲程,进一步提高效率和马力。

目前比较成熟、经过市场验证的四冲程发动机采用进气、压缩、做功、排气步骤,总共四个冲程,完成一次循环。
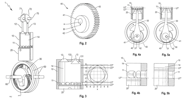
而在保时捷的这项专利中,介绍了采用进气、压缩、做功、压缩、做功、排气步骤,其中有两个步骤做功,单位时间内可以提高发动机的工作效率。
这种新型发动机的设计涉及一个在行星齿轮环内旋转的曲轴,使得活塞有两个不同的上止点和下止点位置,从而实现可变压缩。
其实六冲程发动机的构想由来已久,但直到现在,这种技术的复杂性和成本一直是其普及的障碍,此次专利的公布,意味着保时捷可能会利用这项技术,结合其他碳中性燃料,来延长内燃机的使用寿命。

