天眼查App显示,罗永浩关联30余家企业,其中10家为存续或开业状态,除在锤子科技(成都)股份有限公司、北京锤子数码科技有限公司、成都野望数码科技有限公司等锤子科技相关公司持股及任职外,其还持有广州盖得排行信息科技有限公司、北京大象蓝典科技有限公司,以及北京云上卓智咨询中心(有限合伙)等合伙企业股份。

天眼风险信息显示,罗永浩及其关联公司曾多次被强制执行、限制高消费,但上述信息都已被法院撤下。
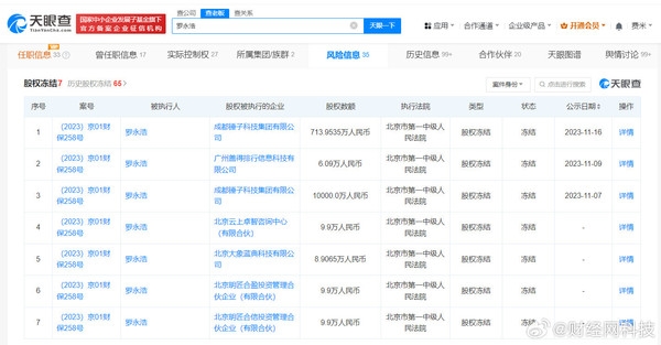
目前,罗永浩名下并无执行信息及限制消费令,不过,其名下仍有一部分股权冻结信息尚未解除。


8月26日,罗永浩发文称,到目前为止,真还传一共还了8.24亿,远远超出之前对外公布过的欠债6个多亿。新增的债务(包括借款3个亿、投资款3个亿)也已偿还一年多了,会在未来几年全部还完。
此前,罗永浩转让或关掉了绝大部分社交媒体账号,近两年里几乎完全没有发声,但由于还在每周末直播带货,所以被解读为闷声大发财。
罗永浩称,殊不知这期间的真相,是和他们想象中截然相反的闷声大还债。这一次,因为压力被迫站出来重新发声,所以这个已经执行了一年多的闷声大还债方案也就放弃了。罗永浩称,接下来会索性火力全开,兴风作浪,用一切合法合规合乎商业伦理的方式大肆炒作,开足马力以各种方式做大做强现金收入,尽快还掉剩余的5个多亿债务。
